“法国队夺冠,华帝退全款”,华帝的这波操作你不服不行
by: 拾贝 2018-07-18
今日凌晨,法国队4:2战胜克罗地亚队,夺得世界杯!20年前,法国队3:0战胜了如日中天的巴西队,历史性夺得了队史的首座世界杯冠军,20年后,法国队又以4:2战胜了克罗地亚; 今天,除了法国时隔20年再捧世界杯金杯,另外一条被刷屏的消息便是“华帝退全款”。

自华帝5月31日发布的广告“法国队夺冠,华帝退全款”起,就备受关注,引起巨大反响。

法国夺冠,华帝便发消息称:“庆祝法国队夺冠,华帝退全款启动!董事长再次签字!”。
有句话是说“有关注的地方就有广告”,世界杯的广告赞助自然不会少,但是谁都没想到最终凉掉的却是广告商,比如卫冕冠军德国队第一个爆冷出局,连小组赛都没出线。赞助德国队的阿迪达斯和奔驰,一个紧急把德国队球衣打半折甩卖,一个干脆把世界杯广告给换了。原本想靠押宝德国稳赚一笔,结果广告效果只有3场......

从最初的Boss直聘、马蜂窝、知乎的重复式广告遭嘲讽,到梅西蒙牛“慌得一比”的恶搞,再到法国夺冠“退全款”的惊讶,场外世界杯的广告营销战也颇有看点。但是谁都想不到最后的赢家会是华帝。
成立于2001年11月28日,其前身中山华帝燃具有限公司成立于1992年4月。股份公司主要从事生产和销售燃气用具、厨房用具、家用电器及企业自有资产投资、进出口经营业务。

华帝集团旗下公司目前包括中山百得厨卫有限公司、中山炫能燃气科技股份有限公司、中山市华帝集成厨房有限公司、广东德乾投资管理有限公司、上海粤华厨卫有限公司、中山市正盟厨卫电器有限公司、中山华帝电子科技有限公司。

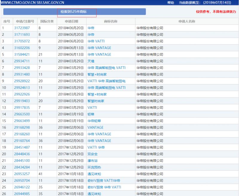
华帝股份有限公司名下商标持有量达到525件。 中山百得厨卫有限公司 百得品牌相关商标116件。 华帝集团坚持创新,已获授权有效专利838项(截至2018年5月10日),数量居行业前列,并荣获国家级工业设计中心、国家认定企业技术中心两大国家级荣誉。 根据华帝的初步统计,活动期间线下渠道总零售额预计约7亿元以上,其中“夺冠退全款”指定产品约5000万元,占线下销售比例约7%。活动期间线上渠道总零售额预计约3亿元以上,其中“夺冠退全款”指定产品约2900万元,占线上销售比例约9.67%。 如实际发生退款,需承担的成本只是“夺冠退全款”指定产品的生产成本和部分促销费用,而不是终端零售额。因此,退款将低于7900万元。
华帝营销真的有那么成功吗?根据活动营销方案,华帝公司总部只需承担线上渠道的退款责任,即不超过2900万元;线下渠道的退款责任则由销售区域的经销商来承担。世界杯期间,“法国队夺冠,华帝退全款”几乎成了家喻户晓的话题,华帝品牌知名度大大提升。这波营销为华帝赚足了眼球,其广告效果恐怕不亚于数千万元的电视广告。
而且,这此营销直接带来了销量的提升。活动期间,华帝线下同比增长20%左右,线上同比增长30%以上。天猫618当天,华帝转化率在大家电行业top20品牌里第一,单日最大增幅高达525%。 华帝自己也发布公告称,“法国队夺冠,华帝退全款”营销活动对终端零售业务有明显的提升作用,品牌知名度得到了提升。活动产生的费用在公司年度预算内,属于公司可控费用,不会对经销体系和公司业绩产生重大影响。到底值不值?或许只有华帝清楚了。
虽然损失了将近8000万元,但比起那些动辄几个亿赞助世界杯的品牌,华帝可以说是赚大了,“去库存”+推销的方法也在市场上赢得美誉度。
俄罗斯世界杯带动了华帝的品牌推广及销售,法国夺冠更是让华帝进入到了高潮,企业不论是推广品牌,还是营销,都一定要基于知识产权保护。借势营销是很多企业都会做的事情,但是营销只是企业经营的手段,品牌和产品的知识产权保护才是企业赖以生存与发展的根本。
每天精选最多3条知识产权干货,直击您的 事业需求,伴您成长,就是这么干。
微信扫一扫即可关注,或搜索微信号:
sebe2015
服务号
微信扫一扫即可关注,或搜索微信号:
IPSEBE